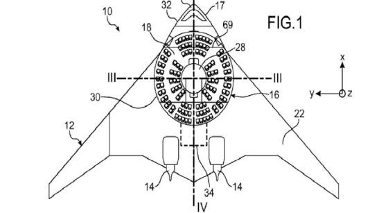
Airbus does around 6000 patents every year. This time, they patented an aircraft with a round space in the middle.
This represents a complete different organization of the passengers, the way the access to the seats, the shape of the food carts, emergency exits…
Expected benefits: save money during the manufacture phase, saving gas…
By the moment is only a patent.
